SRS エアバッグは乗員に重大な危害がおよぶような強い衝撃を受けたときにふくらみ、シートベルトが体を拘束する働きと併せて乗員への衝撃を緩和させます。
SRSエアバッグの配置

- フロントSRS エアバッグ(運転席SRS エアバッグ/助手席SRS エアバッグ)
運転者と助手席乗員の頭や胸などへの衝撃を緩和 - SRS ニーエアバッグ
運転者と助手席乗員の衝撃緩和を補助 - SRSサイドエアバッグ
フロント席乗員の胸などへの衝撃を緩和 - SRS カーテンシールドエアバッグ
フロント席とリヤ外側席乗員の主に頭部への衝撃を緩和
知識
- SRS エアバッグが作動すると
SRS エアバッグは高温のガスにより非常に速い速度でふくらむため、すり傷・やけど・打撲などを受けることがあります。
作動音と共に白いガスが発生します。
エアバッグ近辺の部品の一部分などだけでなくエアバッグ構成部品(ハンドルのハブ・エアバッグカバー・インフレーター)も数分間熱くなることがあります。エアバッグそのものも熱くなります。
フロントウインドウガラスが破損することがあります。
ハイブリッドシステムと燃料供給を停止します。(→緊急停止システム)
すべてのドアが解錠されます。(→衝撃感知ドアロック解除システム)
自動的にブレーキと制動灯を制御します。(→セカンダリーコリジョンブレーキ)
室内灯が自動で点灯します。(→室内灯の自動点灯について)
非常点滅灯が自動で点滅します。(→非常点滅灯について)
- 緊急通報について
G-Link の契約期間内は、次の場合、自動的に緊急通報がヘルプネットセンターに送信されます。
SRSエアバッグが作動した
シートベルトプリテンショナーが作動した
車両に一定以上の衝撃を受けた
オペレーターからの呼びかけに応答がなくても、緊急車両などを手配することがあります。詳しくは「マルチメディア取扱説明書」を参照してください。
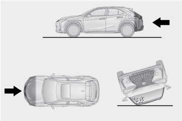
- 正面からの衝撃でSRSエアバッグが作動するとき
次のエアバッグは、衝撃の強さが設定値(移動も変形もしない固定された壁に、車速約20~30km/hで正面衝突した場合の衝撃の強さに相当する値)以上の場合に作動します。
フロントSRSエアバッグ
SRSニーエアバッグ
次の場合はエアバッグが作動する車速は設定値より高くなります。
駐車している車や標識のような衝撃によって移動や変形するものに衝突した場合
もぐり込むような衝突の場合(例えば、車両前部がもぐり込む、下に入り込む、トラックの下敷きになるなど)
衝突条件によっては次の部品のみが作動する場合があります。
シートベルトプリテンショナー
前面衝突時でも、特に衝撃が大きい場合は左右のSRSカーテンシールドエアバッグが作動する場合があります。
- 側面からの衝撃でSRSエアバッグが作動するとき
次のSRSエアバッグは、衝撃の強さが設定値(約1.5tの車両が、約20~30km/hの速度で客室へ直角に衝突した場合の衝撃の強さに相当する値)以上の場合に作動します。
SRSサイドエアバッグ
SRSカーテンシールドエアバッグ
車両側面のどちらかに衝突があった場合でも、左右のSRS カーテンシールドエアバッグが作動します。
- 車両下部からの衝撃でSRSエアバッグが作動するとき
次のSRSエアバッグは、車両下部が固いものにぶつかったときなどの状況で作動する場合があります。
フロントSRSエアバッグ
SRSニーエアバッグ
SRSサイドエアバッグ
SRSカーテンシールドエアバッグ

- SRSエアバッグが作動しないとき
次のSRSエアバッグは、側面や後方からの衝撃・横転・または低速での前方からの衝撃では、通常は作動しません。ただし、それらの衝撃が前方への減速を十分に引き起こす場合には、作動することがあります。
フロントSRSエアバッグ
SRSニーエアバッグ

次のSRSエアバッグは、斜めから衝撃を受けた場合や、客室部分以外の側面に衝撃を受けたときに作動しない場合があります。
SRSサイドエアバッグ
SRSカーテンシールドエアバッグ

次のエアバッグは、前方や後方からの衝撃・横転・または低速での側面からの衝撃では、通常は作動しません。
SRSサイドエアバッグ

次のエアバッグは、後方からの衝撃・横転・または低速での前方や側面からの衝撃では、通常は作動しません。
SRSカーテンシールドエアバッグ

- レクサス販売店に連絡が必要な場合
次のような場合には、点検・修理が必要になります。できるだけ早くレクサス販売店へご連絡ください。
いずれかのSRSエアバッグがふくらんだとき
次のエアバッグはふくらまなかったが、事故で車両の前部を衝突したとき、または破損・変形などがあるとき
フロントSRSエアバッグ
SRSニーエアバッグ

次のエアバッグはふくらまなかったが、事故でドアおよびその周辺部分を衝突したとき、または破損・変形・穴あきなどがあるとき
SRSサイドエアバッグ
SRSカーテンシールドエアバッグ

ハンドルのパッド部分・ダッシュボードの助手席SRSエアバッグ付近・インストルメントパネル下部が傷付いたり、ひび割れたり、その他の損傷を受けたとき
SRSサイドエアバッグが内蔵されているシート表面が傷付いたり、ひび割れたり、その他の損傷を受けたとき
SRSカーテンシールドエアバッグが内蔵されているフロントピラー・リヤピラー部・ルーフサイド部が傷付いたり、ひび割れたり、その他の損傷を受けたとき
警告
- SRSエアバッグについて
次のことを必ずお守りください。
お守りいただかないと、重大な傷害におよぶか、最悪の場合死亡につながるおそれがあります。
運転者と乗員すべてがシートベルトを正しく着用してください。
SRSエアバッグはシートベルトを補助するためのものです。
助手席SRSエアバッグは強い力でふくらむため、特に乗員がエアバッグに近付きすぎると、重大な傷害におよぶか、最悪の場合死亡につながるおそれがあります。乗員がSRS エアバッグのふくらむ場所に近い場合は特に危険です。シートの背もたれを調整して、シートをできるだけSRSエアバッグから離し、まっすぐに座ってください。
お子さまがシートにしっかり座っていないと、SRSエアバッグのふくらむ衝撃で重大な傷害におよぶか、最悪の場合死亡につながるおそれがあります。お子さまが小さくてシートベルトを使用できないときは、チャイルドシートでしっかり固定してください。お子さまはリヤ席に乗せ、チャイルドシートまたはシートベルトを着用させることをおすすめします。(→チャイルドシート)
シートの縁に座ったり、ダッシュボードにもたれかかったりしない

お子さまを助手席SRSエアバッグの前に立たせたり、ひざの上に抱いたりしない

運転者および助手席乗員は、ひざの上に何も持たない
ドアやフロントピラー・センターピラー・リヤピラー・ルーフサイドレールへ寄りかからない

ドアに向かってひざをついたり、窓から顔や手を出したりしない

ダッシュボード・ハンドルのパッド部分・インストルメントパネル下部などには何も取り付けたり、置いたりしない

ドア・フロントウインドウガラス・ドアガラス・フロントピラーおよびリヤピラー、ルーフサイドレール・アシストグリップなどには何も取り付けない(速度制限ラベルを除く→応急修理するときは)

コートフックにハンガーなどの硬いものをかけないでください。
SRSカーテンシールドエアバッグが作動したときに投げ出されて重大な傷害におよぶか、最悪の場合死亡につながるおそれがあります。
SRSニーエアバッグがふくらむ場所にビニールカバーが付いている場合は、取り除いてください。
エアバッグがふくらむ場所を覆うようなアクセサリーを使用しないでください。エアバッグが作動する際、アクセサリーが干渉するおそれがあります。そのようなアクセサリーがエアバッグが正常に作動するのをさまたげ、システムを不能にしたり、またはエアバッグが誤って作動したりして、重大な傷害におよぶか、最悪の場合死亡につながるおそれがあります。
SRSエアバッグシステム構成部品の周辺およびフロントドアの周辺は、強くたたくなど過度の力を加えないでください。
SRSエアバッグが正常に作動しなくなるおそれがあります。
SRSエアバッグがふくらんだ直後は、構成部品が熱くなっているため、ふれないでください。
SRSエアバッグがふくらんだあとに、もし呼吸が苦しく感じたら、ドアやドアガラスを開けて空気を入れるか、安全を確認して車外に出てください。皮膚の炎症を防ぐため、残留物はできるだけ早く洗い流してください。
SRSエアバッグが収納されている部分に傷が付いていたり、ひび割れがあるときは、そのまま使用せずレクサス販売店で交換してください。
- 改造・廃棄について
レクサス販売店への相談なしに、次の改造・廃棄をしないでください。
SRSエアバッグが正常に作動しなくなったり、誤ってふくらむなどして、重大な傷害におよぶか、最悪の場合死亡につながるおそれがあります。
SRSエアバッグの取りはずし・取り付け・分解・修理
次の部品周辺の修理・取りはずし・改造
ハンドル
インストルメントパネル
ダッシュボード
シート
シート表皮
フロントピラー
センターピラー
リヤピラー
ルーフサイドレール
フロントドアパネル
フロントドアトリム
フロントドアスピーカー
フロントドアパネルの穴あけなどの改造
次の部品やその周辺の修理・改造
フロントフェンダー
フロントバンパー
車内側面部
次の部品、または装置の取り付け
グリルガード
除雪装置
ウインチ
サスペンションの改造
CDプレーヤー・無線機などの電化製品の取り付け
